Лампы светодиодные сигнальные полицветные на винтовом креплении ЛС-П52С предназначены для визуальной или визуально-звуковой индикации статуса контролируемого процесса
Особенности:
- Плафон не имеет собственного цвета (прозрачный), поэтому изменение цвета башни при подаче питания более заметно и эффективно, чем при включении ламп с цветным плафоном
- Крепление на винты/саморезы
- Крепление плафона: зажим-паз
- Режим работы: постоянное свечение
- Области применения: промышленная сигнализация, авиация (аэродромные и заградительные огни), охранная сигнализация
Технические характеристики:
| Параметр | Значение |
Цвет
| Три основных: красный, зеленый, желтый
Один дополнительный: оранжевый
|
Диаметр лампы
| 52 мм
|
Питание
| ~220 В
| ≅24 В
| ≅12 В
|
Мощность
| 14 ВА
| 1 Вт
|
Громкость сирены
| 60 дБ
|
Крепление
| Винты/саморезы
|
Крепление плафона
| Зажим-паз
|
| Степень пылевлагозащиты | IP54 со стороны плафона (при условии расположения плафона вертикально)
|
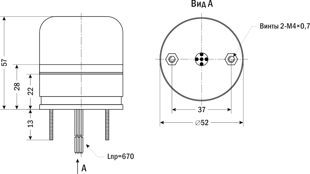
| Габаритные размеры | ∅52×57 мм
|
Вес
| 77 г
|
| Габаритные размеры |
 |
Версия: 2026-01-21-СДГ