Промежуточное реле 57-02 предназначено для управления коммутационными нагрузками
Особенности:
- Реле устанавливается в колодку RT704, которую можно монтировать как на DIN-рейку 35 мм, так и на корпус с помощью винтов Реле 57-02 в сборе с колодкой RT704 см. тут
- Кнопка «Тест» – флажок для ручного переключения
Технические характеристики:
| Параметр | Значение |
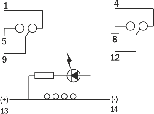
| Количество переключающих контактов | 2 |
| Коммутационная способность | ~10 A, 250 В |
| Управляющее напряжение питания катушки | ~220 В, ~110 В, ~24 В, =48 В, =36 В, =24 В, =12 В, =6 В |
| Габаритные размеры (без контактной колодки) | 27,5×21×34 мм |
| Вес (без контактной колодки) | 33 г |
| Схема подключения |
 |
| Габаритные размеры |
 |
Версия: 2026-04-22-СДГ