Миниатюрный поплавковый датчик уровня ПДУ-Н231-97 предназначен для регулирования уровня жидкости в резервуаре, защиты насоса от сухого хода, автоматизации процесса наполнения/осушения резервуараОсобенности:
-
В зависимости от способа установки датчика выходной контакт замыкается или размыкается при понижении уровня жидкости
-
Горизонтальное монтажное положение
-
Малые габариты
-
Широкий температурный диапазон
-
Устойчивость к агрессивным средам
Технические характеристики:
| Параметр | Значение |
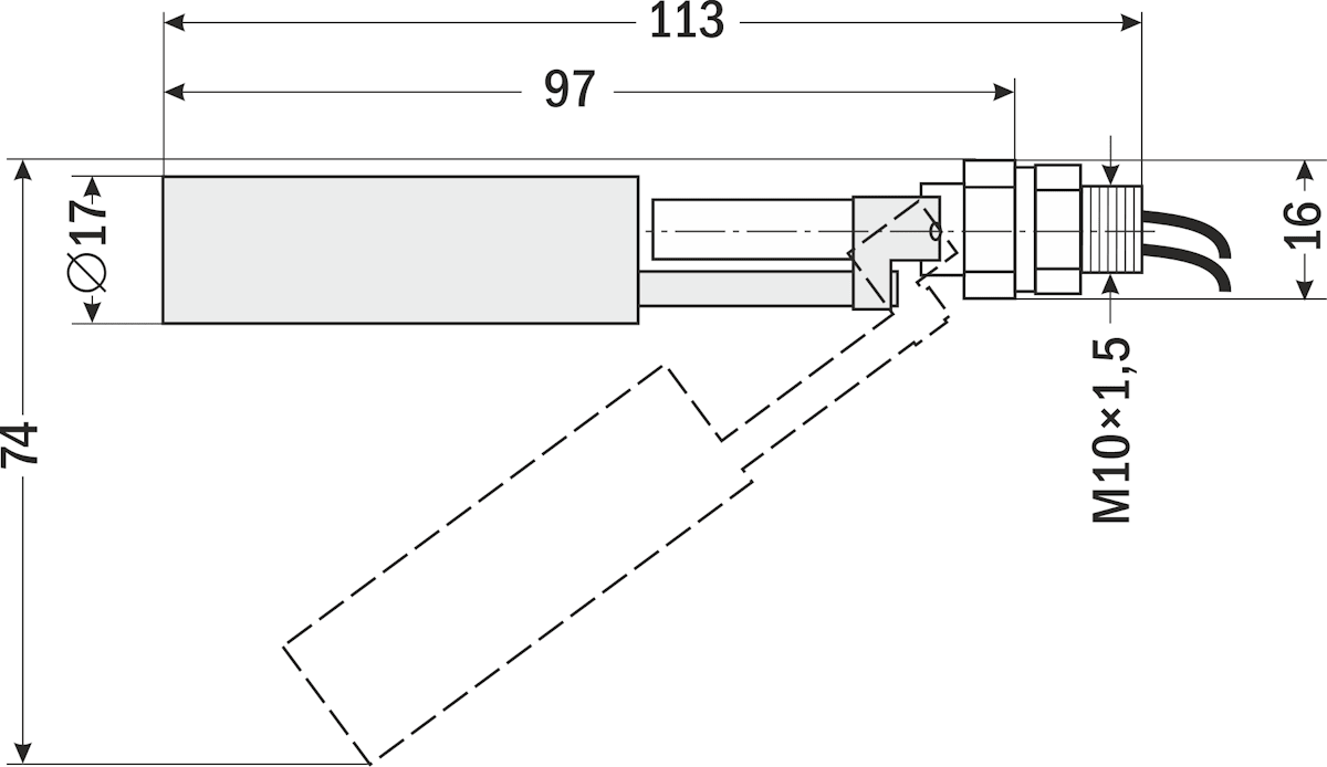
| Рабочее положение | Горизонтальное |
Материал корпуса
| Нержавеющая сталь
|
| Рабочая температура | −30…+110°С |
| Максимальное рабочее давление | 1 МПа |
| Максимальная коммутируемая мощность | 50 Вт
|
Максимальный коммутируемый ток
| ≅0,5
|
| Максимальное коммутируемое напряжение | ≅220 В |
| Длина проводов | 390 мм |
| Присоединение | М10х1,5 |
| Диаметр поплавка | 17 мм |
Длина погружной части
| 97 мм
|
| Габаритные размеры | ∅ 17×113 мм
|
Вес
| 69 г
|
Габаритные размеры
|
 |
Версия: 2025-10-17-СДГ