Пневматический клапан двустороннего действия с поршнем ПК31-2 предназначен для управления потоком рабочей среды в трубопроводе
Особенности:
- Клапан двустороннего действия
- Работа при высоких температурах до +200°C
- Пневмопривод в комплекте
- Высокая пропускная способность
- Плавное открытие/закрытие клапана с защитой трубопровода от гидравлических ударов
- Долгий срок службы
- Параметры рабочего давления приведены для установки клапана по направлению потока. При установке в обратном направлении максимальное давление снизится
Принцип действия и область применения:
ПК31-2 представляет собой пневматический клапан двустороннего действия с поршнем, который открывается при подаче управляющего давления на нижний порт клапана и закрывается при подаче управляющего давления на верхний порт клапана.
Пневматический клапан ПК31-2 предназначен для управления потоком рабочей среды в трубопроводе.
Для защиты клапана от попадания инородных частиц необходима установка
фильтра механической очистки перед входным отверстием соленоидного клапана.
Технические характеристики:
Параметр
| Значение
|
| Рабочая среда | Пар, воздух, инертные газы, вода, горячая вода, масла |
| Материал | Корпуса клапана: латунь
Корпуса привода: алюминий
Уплотнения: PTFE |
| Температура рабочей среды клапана | −60...+200°C |
| Рабочее давление среды | 0,15...0,8 МПа |
| Диаметр условного прохода | 50 мм |
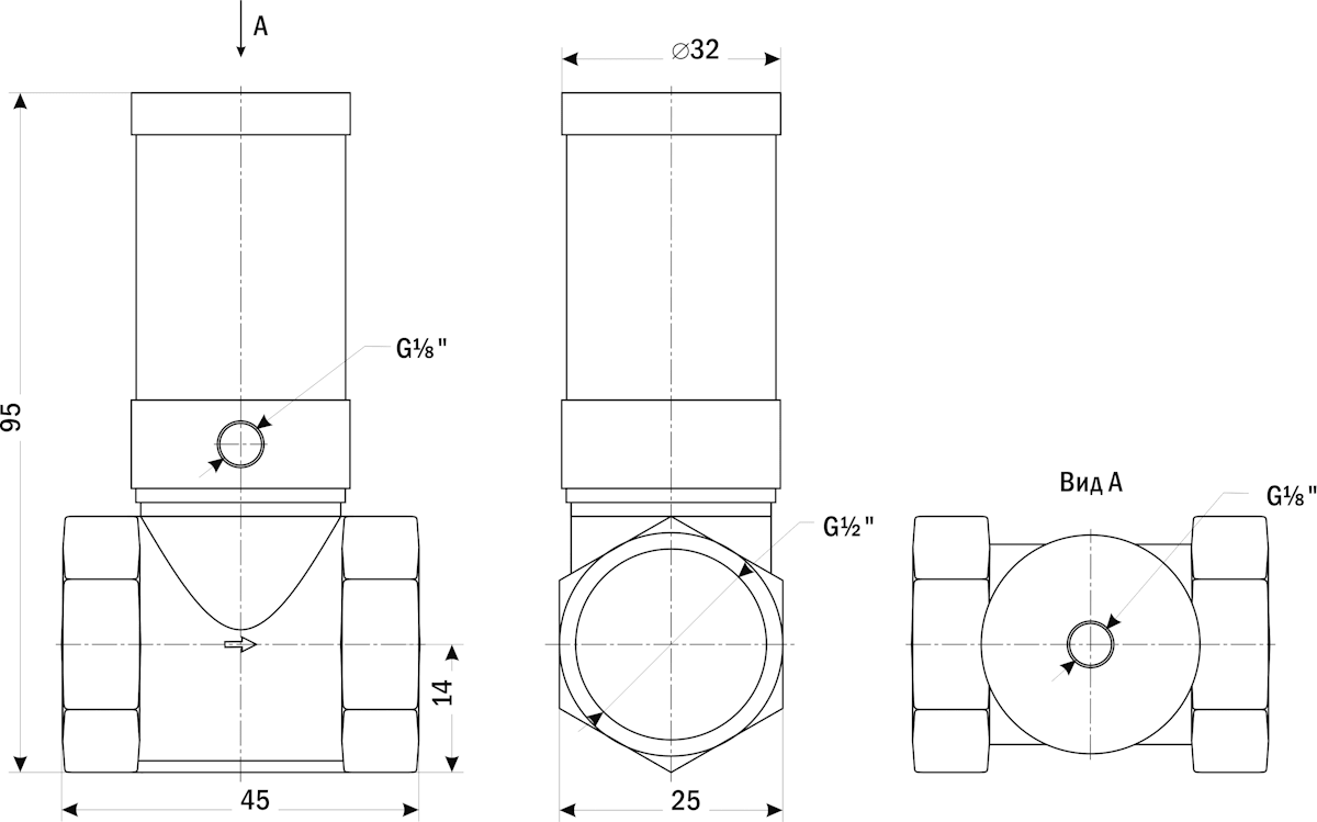
| Присоединение | Резьбовое G½" |
Управляющая среда
| Воздух, нейтральные газы
|
Управляющее давление
| 0,4...0,8 МПа
|
Присоединение воздуховодов
| Резьбовое G⅛"
|
Модификации:
Модель
| Ду, мм | Дэф,
мм
| Диаметр привода, мм
| Kv, м³/ч
| Присоединение | Присоединение воздуховодов
| Вес,
г
|
| ПК31-2-15/13 GBP | 15 | 13
| 32 | 4
| ½"
|
⅛"
| 210 |
Расшифровка обозначения на примере клапана ПК31-2-15/13 XYZ:
ПК31– модель клапана.
2 – тип клапана: двустороннего действия.
15 – Ду, мм (диаметр условного прохода).
13 – Дэф, мм (эффективный диаметр).
X – присоединение: G – трубная резьба.
Y – материал корпуса: B – латунь.
Z – материал уплотнения: P – PTFE
| Габаритные размеры |
 |
Версия: 2026-01-19-СДГ